DC- gekoppeltes, AC- gekoppeltes und hybrides Mikrospeichersystem: Leitfaden zur Energiespeicherung für Eigenheimbesitzer
Vergleichen Sie DC- gekoppelte und AC- gekoppelte sowie hybride Solarbatteriespeichersysteme für den Heimgebrauch. Erfahren Sie, wie Sie den besten Plan für Ihr Zuhause auswählen.
Da immer mehr Hausbesitzer/-innen Photovoltaikanlagen einsetzen, ist die Ergänzung durch Batterie-Notstromversorgung oder Mikrospeicher eine gute Möglichkeit, Stromunabhängigkeit und Energiestabilität zu erreichen. Wie wählen Sie eine geeignete Lösung für Ihr Zuhause aus? Welche Konfiguration ist am besten: DCgekoppeltes, ACgekoppeltes oder hybrides Solarbatteriesystem? In diesem Blog erfahren Sie, welche Unterschiede es gibt und wie Sie das Beste für Ihr Anwendungsszenario auswählen.
Bevor wir in die Details eintauchen, stellen wir sicher, dass Sie diese Schlüsselkonzepte bereits verstehen:
DC (Gleichstrom) ist die Art von Strom, die von Solarmodulen erzeugt und in Batterien gespeichert wird.
AC (Wechselstrom) ist die Stromform, die von Mikro-Wechselrichtern erzeugt, vom Stromnetz geliefert und von den meisten Haushaltsgeräten genutzt wird.
So funktioniert ein typisches Solarbatteriesystem: Solarmodule fangen das Sonnenlicht ein und wandeln es in Gleichstrom um, der dann in den Mikro-Wechselrichter eingespeist und als nutzbarer Wechselstrom für Ihr Zuhause ausgegeben wird. Wenn Ihr Mikro-Wechselrichter mehr Strom erzeugt, als Sie benötigen, wird dieser Wechselstrom in Form von Gleichstrom in Ihrer Batterie gespeichert.
Wenn Sie eher nach einer Lösung für große Wohngebäude als nach einem selbstgebauten Batteriespeichersystem für Ihr Zuhause suchen, lesen Sie unter In diesem Blog erfahren Sie, wie Sie Ihrer Photovoltaikanlage einen Batteriespeicher hinzufügen können weiter.
Was ist ein DC-gekoppeltes Batteriespeichersystem?
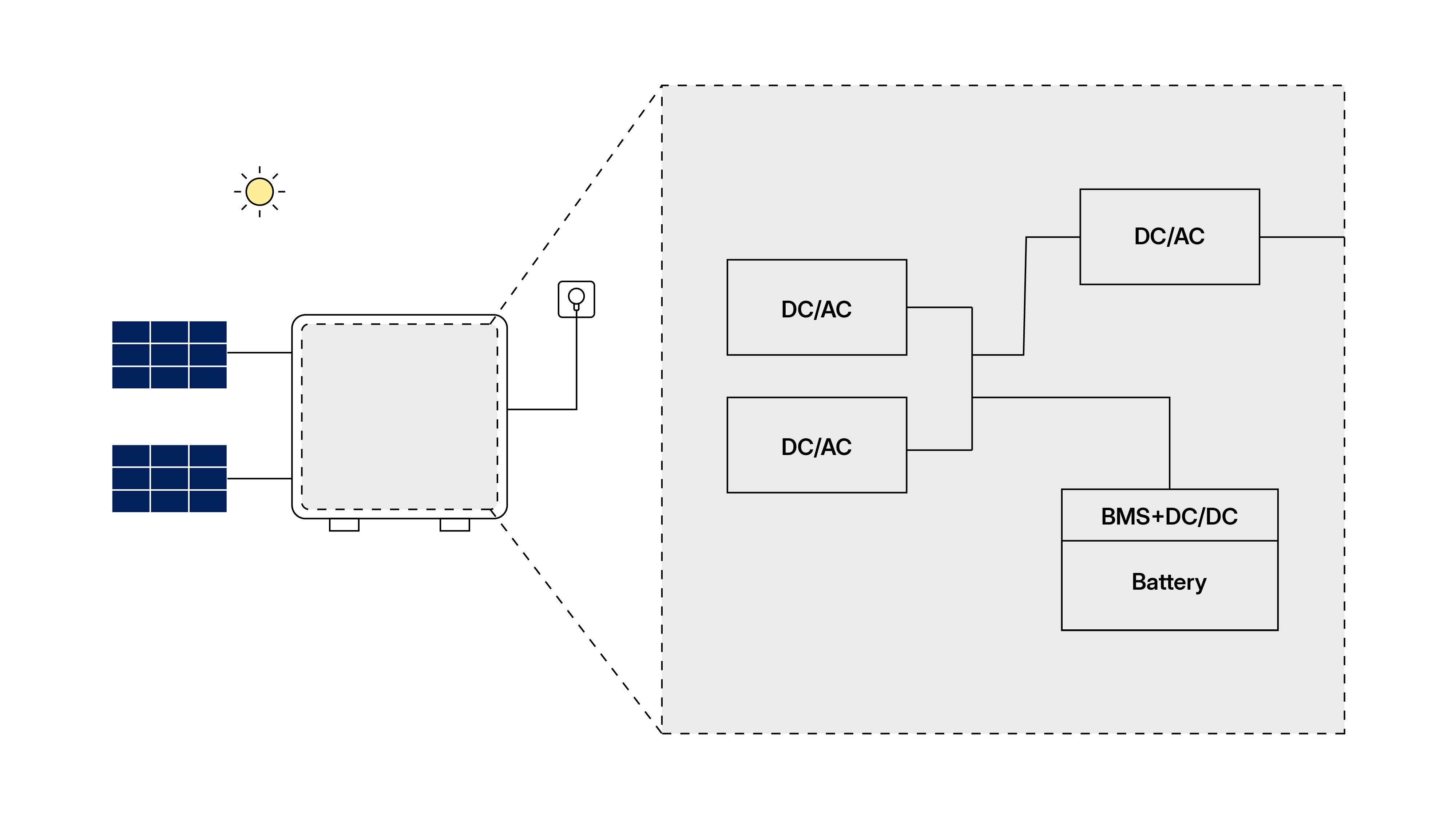
Einfach ausgedrückt wird die Batterie in einem DC-gekoppelten Solarbatteriespeichersystem zusammen mit Solarmodulen statt auf der AC-/Netzseite des Systems installiert. In einer DC-gekoppelten Photovoltaikanlage kann der Gleichstrom aus den Solarmodulen direkt zum Laden von Solarbatterien verwendet werden, ohne dass eine Umwandlung in Wechselstrom erforderlich ist. Anschließend wird das Batteriesystem an einen Mikro-Wechselrichter angeschlossen, sodass Gleichstromenergie in Wechselstromenergie für den Heimgebrauch umgewandelt wird. In einem DC-gekoppelten Solarbatteriespeichersystem ist also nur eine Umwandlung erforderlich.

Die Komponenten im Quadrat bilden die DC-gekoppelte Batteriespeichereinheit
Welche Vorteile bietet ein DC-gekoppeltes Batteriespeichersystem?
Effiziente Energieumwandlung: Da im System nur eine Umwandlung erforderlich ist, geht bei der DC-gekoppelten Lösung weniger Energie verloren und der Systemwirkungsgrad ist höher.
Geringere Hardwarekosten: Das System verwendet weniger Komponenten, sodass der Einstieg für neue Solar-Hausbesitzer/-innen einfacher ist.
Was Sie bei einem DC-gekoppelten Batteriespeicher beachten sollten
Geringere Kompatibilität: Bei DC-gekoppelten Systemen treten oft Kompatibilitätsprobleme auf, da verschiedene Marken von Mikro-Wechselrichtern mit einzigartigen MPPT-Algorithmen ausgestattet sind. Tatsächlich kann kein Hersteller eine 100-prozentige Übereinstimmung des Algorithmus zwischen der Speichereinheit und verschiedenen Mikro-Wechselrichtermarken gewährleisten, sodass Kompatibilitätsprobleme bei DC-gekoppelten Lösungen unvermeidlich sind.
Geringe Flexibilität und hoher Energieverlust: Zum Anschluss der Solarmodule an den Speicher sind Verlängerungskabel erforderlich, da diese normalerweise an unterschiedlichen Orten installiert werden. Beispielsweise werden die Module im Freien aufgestellt, während die Batterie im Innenbereich installiert wird. Eine lange Verbindung führt außerdem zu Energieverlusten bei der Übertragung.
Herausforderung beim Umbau: Wenn Sie bereits eine PV-Anlage installiert haben und einen Batteriespeicher hinzufügen möchten, müssen Sie Verlängerungskabel entweder auf der DC-Seite oder auf der AC-Seite verwenden, je nachdem, wo Sie die Speichereinheit platzieren. Bei falscher Handhabung können zu viele Kabel zu Verdrahtungsfehlern führen und das gesamte System unordentlich aussehen lassen.
Kürzere Lebensdauer: Mikro-Wechselrichter sind normalerweise so konzipiert, dass sie nur tagsüber in Betrieb sind, wenn Sonnenlicht vorhanden ist. Bei einem DC-gekoppelten Speicheraufbau muss das System allerdings auch nachts arbeiten, um den Energiefluss aufrechtzuerhalten. Ein Betrieb rund um die Uhr ohne Pause kann die Lebensdauer des Mikro-Wechselrichters erheblich verkürzen.
Wann sollten Sie sich für einen DC-gekoppelten Batteriespeicher entscheiden?
Eine DC-gekoppelte Batteriespeicherlösung ist besser geeignet, wenn:
Sie bereits eine Solaranlage in Ihrem Haus haben und nun eine Batterie-Notstromversorgung hinzufügen möchten.
Sie nach einem günstigeren Tarif suchen.
Die zeit- und arbeitsintensiven Verdrahtungsschritte für Sie kein Problem sind.
Was sind AC-gekoppelte Batteriespeichersysteme?
Der AC-gekoppelte Batteriespeicher wird nicht an die Solarpanel-/Gleichstromseite des Systems angeschlossen, sondern befindet sich auf der Netz-/Wechselstromseite, wo der Mikro-Wechselrichter bereits von Gleichstrom in Wechselstrom umgewandelten Wechselstrom in die Energiespeicherausrüstung einspeist.

Die Komponenten im Quadrat bilden den AC-gekoppelten Batteriespeicher
Die DC-gekoppelte Lösung arbeitet einseitig von Gleichstrom zu Wechselstrom und kann daher keinen Strom für den Heimgebrauch aus dem Netz beziehen. Im Gegensatz dazu ist ein AC-gekoppelter Speicher in der Lage, eine bidirektionale Stromumwandlung von Gleichstrom in Wechselstrom und von Wechselstrom in Gleichstrom durchzuführen, sodass Sie Netzstrom zum Aufladen Ihrer Batterien außerhalb der Spitzenzeiten importieren können.
Welche Vorteile bietet ein AC-gekoppeltes Batteriespeichersystem?
Die AC-gekoppelte Lösung zeichnet sich durch ihre Einfachheit und Flexibilität aus, egal ob Sie Ihr vorhandenes Solarkraftwerk nachrüsten oder einfach eine Batteriespeicherfunktion hinzufügen möchten. Nehmen wir als Beispiel den neuesten HiBattery AC von Hoymiles:
Starke Kompatibilität: Dieser Ansatz beseitigt die mit verschiedenen MPPT-Algorithmen verbundenen Kompatibilitätsprobleme und sorgt für eine nahtlose Integration mit allen Marken von Mikro-Wechselrichtern.
Einfache Nachrüstung für bestehende Solaranlagen: Mit wenigen Steckern ist die Nachrüstung bzw. Batterieergänzung abgeschlossen.
Hohe Flexibilität: Bei Unterstützung durch intelligente Zähler kann Hoymiles HiBattery AC überall installiert werden und eignet sich daher nicht nur ideal für Balkon-Solaranlagen, sondern auch für andere Wohnszenarien.
Einfache Skalierbarkeit: Wenn Sie eine Kapazitätserweiterung wünschen, fügen Sie einfach nach Bedarf mehrere Energiespeichereinheiten oder Mikro-Wechselrichter hinzu. Sowohl der Batteriespeicher als auch die Systemausgangsleistung werden größer.
Maximieren Sie Ihre Einsparungen: Es ist möglich, die Batterie über das Stromnetz oder mit Solarenergie aufzuladen, um die Einsparungen zu maximieren.
Vielseitige Anwendungen: Kann als Batteriespeicher oder Notstromversorgung in netzunabhängigen Umgebungen wie beim Camping verwendet werden.
Wichtige Hinweise zu einem AC-gekoppelten Batteriespeicher
Das AC-gekoppelte Batteriesystem bietet mehrere Energieumwandlungsmöglichkeiten:
| Vom Netz zum Mikrospeicher | AC zu DC |
| Mikrospeicher für Haushaltsgeräte | DC zu AC |
Vom Solarmodul zum Mikro-Wechselrichter zum Mikrospeicher | DC zu AC zu DC |
Daher ist der Gesamtwirkungsgrad etwas niedriger als bei einer DC-gekoppelten Variante. Der Unterschied ist jedoch minimal und hätte keinen großen Einfluss auf die Gesamterträge.
Wann sollten Sie sich für einen AC-gekoppelten Batteriespeicher entscheiden?
Das AC-gekoppelte System eignet sich ideal sowohl für die Nachrüstung von Systemen als auch für Neuinstallationen.
Zur Anlagennachrüstung: Im Vergleich zu einem DC-gekoppelten System erfordert die AC-gekoppelte Nachrüstung nur wenige Stecker und ist wesentlich einfacher.
Für neue Setups: AC-gekoppelte Batteriespeicher eignen sich besonders dann, wenn Sie Wert auf Flexibilität und eine saubere Systemaufteilung legen. Angenommen, Sie möchten die Module im Freien installieren und die Batterie im Haus lassen. Dann stecken Sie einfach die HiBattery AC von Hoymiles in eine beliebige Steckdose in Ihrem Zimmer – es sind überhaupt keine Verlängerungskabel erforderlich.
Bei der neuesten HiBattery AC von Hoymiles und der vorherigen MS-Lösung können Sie den Mikro-Wechselrichter entweder mit dem Mikrospeicher verbinden oder diese jeweils in unterschiedliche Steckdosen stecken. Dies eliminiert Installationsbeschränkungen, sodass Sie das System überall aufstellen können, beispielsweise in der Garage, im Hof und im Schlafzimmer. Damit ist es mehr als nur ein Balkonkraftwerk, sondern eine vielseitige Energiespeicherlösung für Ihr Zuhause.
Eine AC-gekoppelte Batteriespeicherlösung ist besonders dann besser geeignet, wenn:
Sie bereits eine PV-Anlage haben und Speicher hinzufügen möchten
Sie eine flexiblere Installation suchen
Sie Kompatibilitätsprobleme vermeiden möchten
Sie einen minimalen Installationsaufwand wünschen
Was ist ein hybrides Solarbatteriesystem?
Hybrid-Solaranlagen mit Batterie vereinen die Funktionen von DC- und AC-gekoppelten Lösungen. Mit anderen Worten: Sie integrieren Speicherwechselrichter und Batterie in einer einzigen Einheit.
In AC-gekoppelten Systemen müssen Solarmodule mit Mikro-Wechselrichtern verbunden werden, in einer Hybrid-Solaranlagen werden Solarmodule jedoch direkt an die Speichereinheit angeschlossen.

Die Komponenten im Quadrat bilden die hybride Batteriespeichereinheit
Wie im obigen Anschlussplan gezeigt, verarbeitet ein Hybrid-Solarbatteriesystem Folgendes:
Gleichstromeingang von Solarmodulen
Umwandlung von Strom in Energie zur Speicherung in der Batterie
Bidirektionale DC-AC- und AC-DC-Umwandlung für den Heimgebrauch
Was sind die Vorteile eines hybriden Solarbatteriesystems?
Einfaches System und geringere Vorlaufkosten: Der offensichtlichste Vorteil eines hybriden Solarbatteriesystems besteht darin, dass es weniger Komponenten benötigt und somit geringere Anschaffungskosten verursacht.
Höherer Wirkungsgrad und weniger Energieverlust: Ein Hybrid-Mikrospeichersystem erfordert keine Energieumwandlung zwischen mehreren Komponenten, was den Energieverlust reduziert.
Einfache Erweiterung: Bei den meisten Hybridlösungen müssen einfach mehrere Batterien gestapelt werden, um die Speicherkapazität zu erhöhen.
Was Sie bei einem hybriden Batteriespeichersystem beachten sollten
Obwohl ein hybrides Speicherbatteriesystem über einen einfachen Aufbau verfügt, ist die Verkabelung nur auf den ersten Blick einfach. Im Gegensatz zu einer AC-gekoppelten Lösung, die lediglich Plug-and-Play erfordert, ist bei einem Hybridsystem noch ein gewisser Verkabelungsaufwand erforderlich.
Darüber hinaus ist die Ausgangsleistung Ihres Systems festgelegt, auch wenn Sie Ihre Speicherkapazität durch Hinzufügen weiterer Batterien erweitern können. Die Gesamtsystemkapazität lässt sich dadurch nicht erhöhen.
Wann sollten Sie sich für ein hybrides Solarbatteriesystem entscheiden?
Angesichts der Vor- und Nachteile des hybriden Solarbatteriesystems eignet es sich ideal, wenn:
Sie am Anfang stehen und nach einer einfachen und kostengünstigen Möglichkeit suchen, Ihr Solarspeichersystem aufzubauen.
Sie klein anfangen und bei steigendem Bedarf weitere Batterien hinzufügen möchten.
Ihre Solarmodule und Ihre Batterie nicht weit voneinander entfernt sind (lange Verlängerungskabel bedeuten einen größeren Energieverlust).
Wie wählen Sie die beste Batteriespeicherlösung für Ihr Zuhause aus? Fassen wir zusammen
Lassen Sie uns die wichtigsten Merkmale und Unterschiede zwischen DC-gekoppelten, AC-gekoppelten und hybriden Batteriespeichersystemen zusammenfassen:

Bevor Sie eine Entscheidung treffen, fragen Sie sich:
Beginnen Sie mit einem neuen Solarkraftwerk oder rüsten Sie Ihr bestehendes nach?
Steht die Effizienz im Vordergrund oder sind Flexibilität und Skalierbarkeit wichtiger?
Wie hoch sind Ihr Budget und Ihre Layoutbeschränkungen?
Entdecken Sie die Energiespeicherlösung Hoymiles HiBattery für Ihr Zuhause
HiBattery ist das neueste AC-gekoppelte Plug-in-Produktangebot von Hoymiles, das Hausbesitzer/-innen das Solar- und Speichererlebnis auf dem Balkon mit „weniger Ausgaben, weniger Aufwand und weniger Sorgen“ deutlich erleichtert. Durch die AC-gekoppelte Technologie ist HiBattery zu 100 % mit allen Wechselrichtern kompatibel und kann überall in Ihrem Zuhause platziert werden, sei es auf dem Balkon, in der Garage, im Schlafzimmer oder im Innenhof.
Für die Installation sind lediglich ein paar Stecker erforderlich. Die beispiellose Sicherheit, die flexible Platzierung und die hervorragenden Einsparungen heben den DIY-Batteriespeicher von Hoymiles von ähnlichen Lösungen ab.
Wir bieten drei Mikro-Wechselrichter für die nahtlose Kopplung mit HiBattery an:
HiFlow 800 1-in-1-Serie: Ausgangsleistung 800 W
HiFlow 800 Pro 2-in-1-Serie: Ausgangsleistungsoptionen 600/700/800/900/1000 W
HiFlow 1600 Pro 4-in-1-Serie: Ausgangsleistungsoptionen 1600/1800/2000 W
Das HiBattery-System kann sowohl netzgekoppelt als auch netzunabhängig verwendet werden. Außerdem kann die HiBattery allein als Energiebank zur Versorgung von Geräten dienen. Wenn Sie nach einer ultraeinfachen, flexiblen und vielseitigen Energiespeicherlösung für Ihren Balkon suchen, ist HiBattery Ihre beste Wahl.
Schauen Sie sich unsere ausführliche Anleitung zur Verwendung von HiBattery in verschiedenen Szenarien und zur Auswahl des besten Pakets für Ihre Anforderungen an.
Abonnieren Sie unseren Newsletter und erhalten Sie die neuesten Nachrichten!
